Danh mục sản phẩm

Dự án tiêu biểu

Bảng tiêu chuẩn chất lượng của tôn kẽm mạ màu

Ông thép mạ kẽm, tôn kẽm mạ màu khá phổ biến trong ngành vật liệu xây dựng. Dưới đây là bảng tiêu chuẩn để tiện cho khách hàng theo dõi và kiểm tra khi chọn mua sản phẩm

Bí quyết tăng năng suất tối đa cho máy bơm

Máy bơm nước là đồ dùng không thể thiếu trong mỗi gia đình Việt . Làm thế nào để tối ưu hóa hiệu quả của máy bơm luôn là điều người dùng quan tâm. Cùng tìm hiểu nhé!

Tìm hiểu cách dùng khớp nối mềm

Hiện nay trên thị trường, khớp nối inox là một trong các loại khớp nối phổ biến nhất. Khớp nối về cơ bản có hai loại: cứng và mềm. Cùng tìm hiểu cách dùng khớp nối mềm như thế nào nhé!

Những việc cần làm khi hàn cắt kim loại

Hàn cắt kim loại là một công việc nguy hiểm cần được trang bị bảo hộ kỹ càng khi thực hiện quá trình này. Cùng tìm hiểu những việc cần chuẩn bị trước và trong khi hàn kim loại nhé!

Những điều cần biết về que hàn

Que hàn là vật liệu không thể thiếu trong quá trình hàn hồ quang. Cùng tìm hiểu những điều thú vị về que hàn nhé!

Ưu điểm của tê hàn inox

Tê hàn inox có nhiều ưu điểm vượt trội so với các mặt hàng tê hàn khác. Cùng tìm hiển những tính năng vượt trội của tê hàn inox nhé!

Inox 201 và các thuộc tính cơ bản

Cùng chúng tôi tìm hiểu những thuộc tính cơ bản của inox 201 để so sánh xem với các loại inox khác có gì nổi trội và khác biệt để chọn được loại inox phù hợp nhất với mình nhé!

Những điều cần biết về phụ kiện inox 430

Phụ kiện inox 430 khá phổ biến và không thua kém inox 304. Cùng tìm hiểu những tính năng vượt trội của phụ kiện inox 430

Hướng dẫn sử dụng các sản phẩm bằng inox

Ngày nay, bạn rất dễ dàng mua được các sản phẩm bằng inox. Inox được ứng dụng rất nhiều trong cuộc sống hiện đại bởi độ bền cao, không gỉ lại chống rỉ sét hiệu quả

Những ưu điểm vượt trội của inox tấm 304

Inox tấm 304 là vật liệu phổ biến trong ngành xây dựng. Inox tấm có rất nhiều ứng dụng bởi những ưu điểm vượt trội sau

Cơ chế hoạt động của van bướm

Van bướm Hàn Quốc là một trong những loại van phổ biến tại thị trường Việt. Van bướm Hàn Quốc cũng hoạt động giống như các loại van bướm khác nhưng có ưu điểm là độ bền cao và chạy êm hơn. Cùng tìm hiểu nguyên lý hoạt động của van bướm nhé!

Những lỗi thường gặp khi lắp đặt van bẫy hơi

Van bẫy hơi là vật liệu quan trọng trong ngành điện nước. Cùng tìm hiểu van bẫy hơi là gì và các hệ quả khi lắp đặt van bẫy hơi bị lỗi nhé!

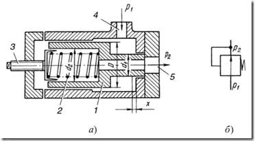
Các dạng van giảm áp phổ biến

Van giảm áp hay van giảm số trên thị trường có rất nhiều loại. Hiện nay, phổ biến và được ưa chuộng nhất là van giảm số Hàn Quốc. Van giảm số thường có 2 dạng sau:

Van giảm áp có cấu tạo như thế nào?

Van giảm áp Hàn Quốc là một trong các loại van phổ biến tại thị trường Việt thời điểm này. Cùng tìm hiểu cấu tạo của van giảm áp Hàn Quốc và các loại van nói chung nhé!

Những lỗi hay gặp khi lắp đặt van an toàn

Van cứu trợ an toàn là vật liệu cần thiết trong ngành xây dựng, điện nước. Dưới đây là những lỗi thường gặp khi lắp đặt van cứu trợ an toàn:

Đánh giá ưu nhược điểm của ống nước bằng đồng và nhựa

Ống nước bằng đồng hay bằng nhựa tốt hơn? Hãy cùng chúng tôi tham khảo bài viết sau để có lựa chọn tốt nhất cho gia đình nhé!

Khốn khổ vì phôi thép Trung Quốc

Phôi thép Hàn Quốc giá rẻ ồ ạt tràn về Việt Nam khiến doanh nghiệp thép phôi nội phải gồng mình lên chống đỡ lại sự phá giá thị trường

Những điều cần biết về gang đúc

Gang là chất liệu được dùng phổ biến trong ngành vật liệu xây dựng, nội thất,... Hôm nay, hãy cùng chúng tôi tìm hiểu về gang đúc nhé!

Quá trình gia công inox

Những vật dụng bằng inox đã trở nên quá đỗi thân thiết với mọi người dân Việt. Hôm nay, hãy cùng chúng tôi tìm hiểu quá trình gia công inox như thế nào nhé!

Các cấp độ bóng inox

Inox là sản phẩm thép không gỉ được ứng dụng trong nhiều lĩnh vực của đời sống hiện đại. Inox có rất nhiều loại và được phân loại theo cấp độ bóng bề mặt

Hướng dẫn sử dụng bàn inox trong nhà hàng

Bàn inox hiện nay khá phổ biến trong nhà hàng, khách sạn bởi sự sang trong, bền, dễ lau chùi và mang vác. Cùng tìm hiểu cách vệ sinh và cất trữ bàn inox nhé!

Làm đẹp cùng thìa inox

Bạn hoàn toàn có thể dùng chiếc thìa inox để đánh tan bọng mắt và giúp cho gương mặt thon gọn và nhiều tác dụng bạn không ngờ đấy.

Đặc tính của ống đúc inox nhập khẩu

Ống đúc inox nhập khẩu có độ bền cao, sáng bóng và chống ăn mòn tuyệt đối nên được người tiêu dùng tin tưởng suốt nhiều năm qua.

Nhận biết inox chất lượng tốt và inox mạ

Inox hiện đang được ứng dụng rất nhiều trong cuộc sống. Những sản phẩm như ống inox, nội thất inox,... được người tiêu dùng rất ưa chuộng. Tuy nhiên, thị trường inox cũng có rất nhiều loại. Làm thế nào để mua được sản phẩm inox tốt?

Bôn nước inox - sự lựa chọn của các nhà đầu tư hàng đầu

Bồn nước inox không chỉ phổ biến trong các hộ gia đình bởi độ bền và tiện dụng mà bồn nước bằng inox còn được các nhà đầu tư tin dùng cho các công trình của họ.

Ăn mòn thép là gì và bản chất của sự ăn mòn

Ăn mòn là hiện tượng phổ biến xảy ra ở vật liệu thep, sắt,... Vì thế nhiều vật liệu thường được mạ kẽm như côn hàn, côn thu ren mạ kẽm,... để chống lại quá trình này.

Thép bị ăn mòn như thế nào?

Những sản phẩm mạ kẽm như côn thu hàn mạ kẽm, thép mạ kẽm,... sẽ giúp chống lại sự ăn mòn sản phẩm theo thời gian đảm bảo chất lượng công trình. Cùng hiểu sự ăn mòn của thép để hiểu rõ vì sao chúng ta nên chọn sản phẩm mạ kẽm.

Quy trình hàn trước khi mạ nên dùng

Quy trình hàn có 2 loại hàn trước hoặc sau khi mạ. Hôm nay, chúng ta hãy cùng tìm hiểu quy trình hàn trước khi mạ là như thế nào và các quy trình hàn trước khi mạ nên dùng nhé!

Những lợi ích của sản phẩm thép mạ kẽm không thể phủ nhận

Những sản phẩm thép mạ kẽm như cút ren mạ kẽm, tê hàn, côn hàn mạ kẽm....bền và độ cứng cao đã và đang lại rất nhiều lợi ích trong đời sống. Cùng chúng tôi tìm hiểu những lợi ích không thể phủ nhận của sản phẩm thép mạ kẽm nhé!

Thép mạ kẽm nhúng nóng là gì?

Thép mạ kẽm nhúng nóng được sử dụng rất nhiều trong ngành công nghiệp và xây dựng. Nếu bạn chưa biết thép mạ kẽm nhúng nóng là như thế nào thì hãy cùng chúng tôi đọc bài viết dưới đây nhé!

Nguyên lý mạ kẽm nhúng nóng có thể bạn chưa biết

Mạ kẽm nhúng nóng hoạt động dựa trên cơ chế nào để cho ra các sản phẩm chất lượng như tê ren mạ kẽm, tê hàn mạ kẽm,... Cùng chúng tôi tìm hiểu nhé!

Quy trình mạ kẽm nhúng nóng diễn ra như thế nào?

Các thiết bị như côn hàn, tê hàn mạ kẽm rất phổ biến trong ngành vật liệu công nghiệp và lắp ráp. Dưới đây là bảng hướng dẫn chi tiết quy trình mạ kém nhúng nóng :

Đai treo ống là gì?

Đai treo ống là vật dụng hữu ích trong ngành công nghiệp xây dựng và lắp ráp nhưng có lẽ nhiều người chưa biết đai treo ống là gì. Bài viết dưới đây sẽ giúp quý khách hàng hiểu rõ đai treo ống là gì?

Thanh ren có khả năng chịu lực như thế nào?

Cùng chúng tôi tìm hiểu đặc điểm kỹ thuật và khả năng chịu lực của thanh ren để có lựa chọn sản phẩm tốt nhất cho công trình của bạn nhé!

Những ứng dụng ít biết của cao su phế thải

Cao su được ứng dụng rất nhiều trong cuộc sống hiện đại. Cùng tìm hiểu những lợi ích và ứng dụng của cao su phế thải nhé!

Những ứng dụng của nhựa trong cuộc sống

Những vật dụng bọc nhựa không còn xa lạ trong cuộc sống hiện đại. Cùng chúng tôi tìm hiểu những ứng dụng của nhựa phổ biến hiện nay nhé!

Những điều cần biết về bu lông neo

Bu lông neo là vật liệu hữu ích trong ngành lắp ráp. Cùng tìm hiểu những thông tin cơ bản về bu lông neo nhé!

Doanh nghiệp sản xuất inox kêu cứu

6 doanh nghiệp sản xuất các mặt hàng cây đặc inox vừa gửi đơn kiến nghị lên Bộ Tài Chính, Tổng cục Hải Quan và Tổng cục Thuế về tình trạng lách thuế nhập khẩu mặt hàng cây đặc inox.

Những điều cần biết về inox công nghiệp

Sự ra đời của inox ẩn chứa rất nhiều điều thú vị. Đây là vật liệu sinh ra đã làm thay đổi ngành vật liệu xây dựng. Hiện tại, inox được ứng dụng rộng rãi trong nhiều lĩnh vực đời sống.

Cách nhận diện các loại inox phổ biến

Inox được ứng dụng rất nhiều trong ngành vật tư xây dựng, nội thất, đồ gia dụng.... bởi độ bền cao lại an toàn cho người sử dụng. Inox có rất nhiều loại, mỗi loại lại có tính năng riêng biệt.

Bản tin thị trường thép: sắp có đợt tăng giá mới

Thông tin thị trường thép tại Việt Nam có nhiều biến động trong quý I. Dự báo trong quý II này giá thép có dấu hiệu tiếp tục tăng mạnh

Hàn inox hồ quang: những điều cần lưu ý

Kỹ thuật hàn hồ quang khá phổ biến khi hàn các vật liệu. Hàn hồ quang có những ưu điểm gì? Cùng chúng tôi tìm hiểu nhé!

Những tính năng ưu việt của co hàn inox

Co hàn inox là thiết bị không thể thiếu trong ngành lắp ráp công nghiệp. Tại sao co hàn inox lại được ưa chuộng như vậy? Cùng chúng tôi tìm hiểu nhé!

Tác dụng của hàn inox đồ gia dụng trong cuộc sống

Hàn inox các vật dụng trong gia đình không chỉ giúp đồ vật thêm bền chắc mà còn làm đẹp cho căn nhà của bạn. Bên cạnh đó, hàn inox còn đem lại rất nhiều lợi ích khác cho tổ ấm của gia đình bạn.

Bí quyết chọn và bảo quản phụ kiện inox

Bạn đã biết chọn inox và các phu kiện inox chất lượng chưa? Cùng tham khảo bí quyết lựa chọn và bảo quản inox cùng các phụ kiện inox bền lâu nhé!

Lịch sử và ứng dụng của inox tấm trong đời sống

Inox tấm có rất nhiều loại như Inox tấm 304 | Inox tấm 316 | Inox tấm 201 | Inox tấm 430,...... Cùng tìm hiểu lịch sử inox tấm và ứng dụng của nó trong đời sống nhé!

Tiện ích của bàn ăn inox

Inox tấm hiện không chỉ được ứng dụng trong ngành xây dựng mà trong cả thiết kế nội thất. Những chiếc bàn ăn inox mang lại rất nhiều tiện ích cho căn nhà bạn

Những điều cần biết về van một chiều

Van một chiều là thiết bị phổ biến trong ngành xây dựng, được sử dụng trong nhiều công trình như đường ống nước, chế tạo cửa,,.. Cùng tìm hiểu những thông tin cơ bản về van một chiều nhé!

Bảng tính trọng lượng các loại thép phổ biến trong công nghiệp

Cùng chúng tôi tham khảo bảng tính trọng lượng các loại thép phổ thông trong ngành VLXD: thép cuộn, thép vằn, thép gân, thép tròn POMINA

Bật mí thú vị về van bướm

Van bướm là một thiết bị không thể thiếu trong ngành công nghiệp chế tạo. Hiện nay, thị trường có rất nhiều loại van bướm với nguồn gốc xuất xứ khác nhau, nổi bật nhất là van bướm Hàn Quốc bởi thiết kế đẹp, độ bền cao.

1 2 3 4 >